Jiangsu Youchengzhixin Electromechanical Equipment Co., Ltd

20L CE air receiver tank PED pressure vessel

20L CE air receiver tank, compliant with PED 2014/68/EU for the European compressed air industry. Carbon steel, sturdy pressure vessel, stable pressure storage, condensate separation, safe and reliable for EU industrial pneumatic systems.

Get a Quote

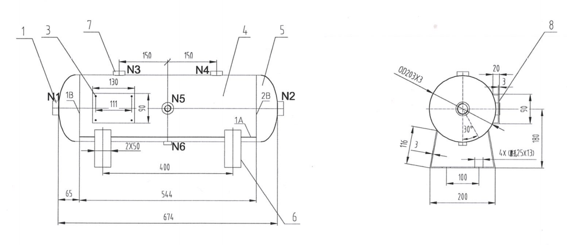
Specification of 20L CE air receiver tank PED pressure vessel

20l-ce-air-receiver-tank-ped-pressure-vessel-specification-2
20l-ce-air-receiver-tank-ped-pressure-vessel-specification-1

YCZX Existing CE Air Receiver Tanks

P/NPressure (bar)L*D*H(mm)Thickness(mm)Package Size(mm)Net Weight(KG)Gross Weight(KG)Ports
10L CE12562*188*2693/99.53:G1/2, 1:G1/4,2:G1
20L CE12.5714*223*296.53
13.5143:G1/2, 1:G1/4,2:G1
40L CE8686*293*3254/16174:G1/2, 1:G1/4, 2: G3/4
50L CE8736*332*3923/20213:G1/2, 1:G1/4, 2: G3/4
60L Vertical CE8337*850*9683/24253:G1/2, 2:G3/4, 1: G1
60L CE12940*325*3623/24.5253:G1/2, 1:G1/4, 2: G1
80L CE8870*370*4123/27.5283:G1/2, 1:G1/4, 2:G1-1/2
100L CE81075*370*388.53/37.5384:G1/2, 1:G1/4, 2:G1-1/2



Get In Touch
Get In Touch
No. 725, Hongyang Road, Bacheng Town, Kunshan, Jiangsu Province
We use cookies to offer you a better browsing experience, analyze site traffic and personalize content. Part of the tracking is necessary to ensure SEO effectiveness,
By using this site, you agree to our use of cookies. Visit our cookie policy to learn more.
Reject Accept